(科研与信息化部傅可立,地下空间深圳公司袁家强,总承包公司佘小强供稿)近日,贵州省建筑业协会发布了《关于公布2023年度贵州省工程建设工法的通报》,中建地下空间公司《超厚(不良)回填土区端承型刚性桩复合地基施工工法》《基于变形缝防水的异形止水钢板施工技术工法》《沉降式施工升降机基础施工工法》《大面积金刚砂耐磨地坪防开裂精细化施工工法》《可周转式连墙附着悬挑脚手架施工工法》5项工法获评2023年度贵州省工程建设工法,5项省级工法在工程项目施工中具有良好的推广和实用价值,工法的发布提升了院在科技创新方面的软实力。

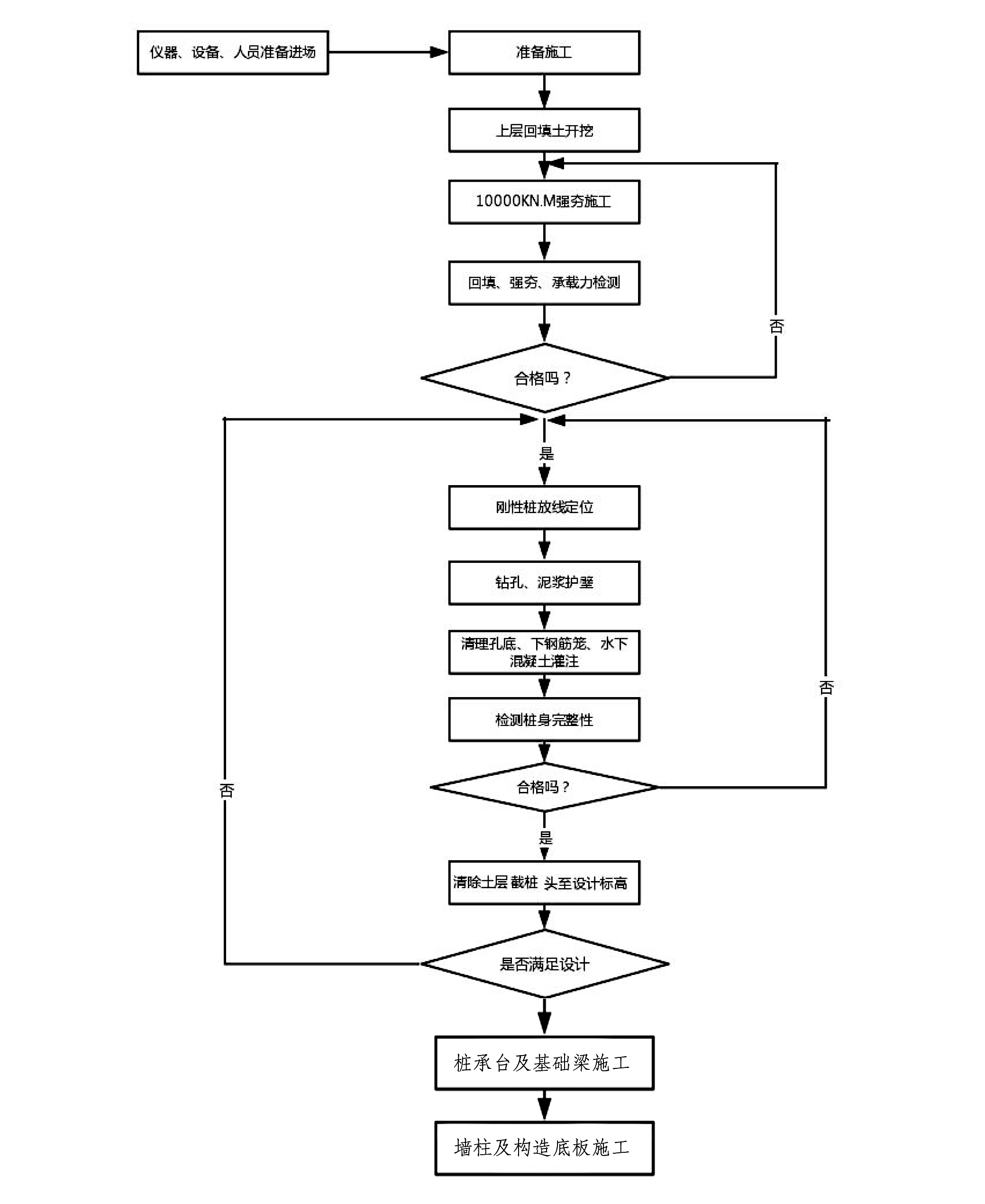
超厚(不良)回填土区端承型刚性桩地基基础施工工法 超厚(不良)回填土区端承型刚性桩地基基础施工工法采用强夯工艺进行土体压密处理,并回填复合土碾压,在一定深度范围内形成稳定的地基土。处理后的地基采用端承型刚性桩,减小了桩侧回填土的负摩阻力,达到设计地基承载力要求,解决了超厚(不良)回填土区采用大直径端承桩难以成孔以及超厚回填土区承载力不能满足高层建筑地基的问题,采用孔壁保证措施后对孔壁成孔保值率高,避免了在回填区域钻孔常出现的塌孔、封孔、卡钻等现象。 本工法适用范围广泛,可用于回填厚度20米以上、湿陷性黄土、碎石土、砂土、一般粘性土、软土、场内有大规模拆迁、含有超厚建筑垃圾且土层结构松散,厚薄不均,无序堆填的新近未固结回填土的端承型刚性桩地基基础施工。采用本工法对原本不适宜修建高层建筑的地基进行处理后,将提高土地利用率。 
施工工艺流程图 

基于变形缝防水的异形止水钢板施工技术工法 本工法针对变形缝的防水构造进行深入研究及分析,根据工程实际需求,创新性地开发了一种适用于缝宽20mm、便于现场迅速安装、防水性能卓越的异形止水钢板。采用的异形止水钢板为3mm厚热镀锌材质,宽度两侧分别为300mm,高度为板厚的二分之一,能有效适应混凝土温度变化、收缩徐变及不均匀沉降引起的变形。通过对止水钢板进行热镀锌处理,并在拼装焊接部位涂刷环氧类防腐油漆,能有效地延长异形止水钢板的使用寿命,保证工程防水质量,现场安装简便快捷,大幅提升了施工效率,节约了人工成本。 本工法可广泛应用于地铁车站建设、大型住宅建设、大型商业区建设等涉及大面积底板需留设变形缝的工程,应用前景广阔。

施工工艺流程图


沉降式施工升降机基础施工工法 在高层建筑施工过程中,常面临当地基地质条件不良,综合待建建筑物结构形式、平面布置、现场运输条件以及二次结构施工等因素的影响,兼顾运输的效率和经济性,将施工升降机设置在地下室顶板上的情形愈发常见。 本工法提出,在确定施工升降机基础位置时,对施工升降机基础区域梁板进行优化设计,采取必要的结构加强措施,降低该区域梁顶及板面标高,使升降机吊笼底部与板面齐平,从而进出施工升降机更加方便、快捷;沉降式施工升降机基础的排水系统采用永临结合的方式,在施工升降机基础内预埋地漏、排水管,且与车库正式排水系统相连,有效地解决了排水问题;在进行地下室主体结构施工时,即进行升降机基础的施工,保证了基础的安全可靠性。 将沉降式升降机基础施工技术运用于地下室顶板上,相对于传统式施工升降机基础极大地提高了运输效率,节省了人工和材料费用,降低了建筑材料的运输成本和运输时间。

大面积金刚砂耐磨地坪防开裂精细化施工工法 随着建筑施工行业的快速发展,在满足功能性的前提下,用户对建筑产品观感提出了更高要求。金刚砂耐磨地坪具有造价低,使用寿命长等优点,在地下车库应用广泛。 本工法提出通过后置入定型化钢筋网片,保证钢筋网片在混凝土上层,并将施工缝部位设置在分隔缝的位置,施工缝采用角钢进行分割,有效减少地下室地坪开裂的质量通病;同时定型化加工操作简便,提高工效;车库现浇钢筋混凝土结构底板上采用pvc管铺设暗排水沟,形成地坪内暗排水沟,引入周边明排水沟或集水井,减少出现返潮渗漏的质量问题。 该工法防开裂、防返潮渗漏效果良好,一次成型施工效率高,相比传统施工模式可以更好的防止出现地下室混凝土金刚砂耐磨地坪成型质量差、开裂、返潮渗漏等质量通病。本工法施工简便,有利于节约后期因地坪开裂、返潮渗漏而采取的修补措施和成本。

可周转式连墙附着悬挑脚手架施工工法 型钢悬挑扣件式钢管脚手架广泛应用于高层和超高层建筑中。传统的型钢悬挑扣件式钢管脚手架,在操作上具有一定难度,并且在悬挑楼层以及在砌体墙上的连墙件设置区域无法直接施工二次结构,需等悬挑架拆除后才能进行悬挑楼层的施工以及连墙件位置的洞口封堵。 本工法中的附着式型钢能够有效减少传统悬挑构件中钢材的使用,同时连墙措施可以达到材料“零浪费”的效果,有效节约施工成本。此外,只需要在结构上预留两个对拉螺杆孔即可实现后期的外架连墙,降低了外剪力墙处的脚手架连墙难度,避免了施工人员因操作困难而在外剪力墙处漏设连墙件的情况;同时,常规做法中在外架拆除后再来砌筑悬挑楼层的二次结构以及对连墙件位置的预留洞口进行大量修补的程序将被取代,方便了现场工序组织及穿插,避免了二次返工的现象。

|